Tulostusjärjestelmässä voidaan käyttää eri kokoonpanoasetuksia erilaisia tulostusympäristöjä varten. Tulostusjärjestelmä sisältää peruslaitteisto-osat, joita voidaan laajentaa uusilla lisävarusteilla. Seuraavassa taulukossa on pääosien kuvaukset.
Tässä käyttöoppaassa tulostusjärjestelmän osista käytetään niiden toiminnallisia nimiä. Joskus, kuten lisävarustetta tilattaessa, tarvitaan kuitenkin kaupallista tuotenimeä. Käytä tällöin apuna taulukkoa, jossa kaupalliset nimet on mainittu.
Lisävarusteiden saatavuus määräytyy maan mukaan.
Perustulostusjärjestelmä, jossa on tavallisen paperin moduuli
Esimerkki tulostusjärjestelmästä, jota on laajennettu useilla syöttö- ja luovutuslisävarusteilla
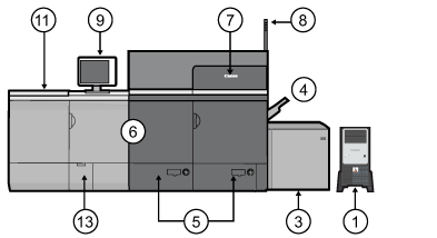
Esimerkki käytössä olevasta laitteen sillasta ja viimeistelijän sovittimesta DFD (Document Finishing Device) -laitetta varten|
Laitteiston pääosien kuvaus |
|
|---|---|
|
1 |
PRISMAsync Print Server ohjaa tulostusjärjestelmän suorituskykyä, työnkulkua, kuvanlaatua ja värilaatua. |
|
2 |
Paperimoduuli, johon materiaali asetetaan. |
|
3 |
Tavallisen paperin moduuli, johon materiaali asetetaan. |
|
4 |
Erikoissyöttölaite pitkien arkkien manuaaliseen syöttöön. |
|
5 |
Sisäiset paperilokerot, joihin materiaali asetetaan. |
|
6 |
Tulostusmoduuli, jossa tulostus suoritetaan. |
|
7 |
Värilokeron kansi, jonka alta päästään värikasetteihin. |
|
8 |
Käyttäjän merkkivalo, jonka avulla järjestelmän tila voidaan tarkistaa etäältäkin. |
|
9 |
Ohjauspaneeli, josta käyttäjä saa kaikki tärkeät tiedot. |
|
10 |
Automaattinen asiakirjan syöttölaite, jolla kopioidaan ja skannataan originaaleja. |
|
11 |
Kansi, jota tarvitaan vain pelkkään tulostamiseen käytettävässä järjestelmässä. |
|
12 |
Hukkavärisäiliön lokero, josta päästään hukkavärisäiliöön. |
|
13 |
Jäähdytysyksikkö jäähdyttää tulostetut arkit. |
|
14 |
Tunnistusyksikkö suorittaa kalibrointitoimet automaattisesti. |
|
15 |
Tarkastusyksikön avulla tulostuslaatu tarkistetaan automaattisesti viitekuvan perusteella. |
|
16 |
Syöttäjä, joka syöttää (esipainetut) kannet ja lisäarkit. |
|
17 |
Ammattitason rei'itysyksikön avulla tulosteisiin voi lisätä eri stanssien avulla erilaisia rei'ityksiä tai rypistää tulosteita. |
|
18 |
Täydellinen sitoja, jolla luodaan täydellisesti sidottuja ja leikattuja kirjoja. |
|
19 |
Tehopinoaja, jolla suuret tulostepinot pinotaan ja tilataan. |
|
20 |
Taittaja, jolla tulosteet taitetaan eri tavoin. |
|
21 |
Lajittelija/nitoja, jolla nidotaan ja lajitellaan tulosteet. Kirjasenviimeistelijä laatii vihkonidottuja vihkoja. Tulosteet rei'itetään rei'itysyksikön avulla. |
|
22 |
Vihkoleikkuri, jolla vihkojen syöttöreuna leikataan. |
|
23 |
Kaksiteräinen leikkuri, jolla vihkojen ylä- ja alareuna leikataan. |
|
24 |
Silta (Finisher Bridge-A1) viimeistelijän sovittimen liittämiseen ammattitason pinoaja/nitojaan. |
|
25 |
Viimeistelijän sovitin (DFD Adapter-A2) DFD-laitteen liittämiseksi siltaan. |
|
26 |
Document Finishing Device -laite tulosteen viimeistelyä varten. |
|
Valinnainen |
Kaupallinen tuotenimi |
|---|---|
|
Automaattinen asiakirjan syöttölaite |
Duplex Color Image Reader Unit-M1 |
|
Tulostimen kansi |
Printer Cover-K1 |
|
Erikoissyöttölaite |
Long Sheet Tray-D1 |
|
Paperimoduuli |
POD Deck-D1 Secondary POD Deck-D1 |
|
Tavallisen paperin moduuli |
POD Deck Lite-C1 POD Deck Lite XL-A1 |
|
Syöttäjä |
Document Insertion Unit-N1 |
|
Jäähdytysyksikkö |
Cooling unit-A1 |
|
Tunnistusyksikkö |
Sensing unit-A1 |
|
Tarkastusyksikkö |
Inspection unit-A1 |
Lisätietoja: Paperinsyöttömoduulien tekniset tiedot.
|
Valinnainen |
Kaupallinen tuotenimi |
|---|---|
|
Ammattitason rei'itysyksikkö |
Multi Function Professional Puncher-B1 |
|
Liimasidonta |
Perfect Binder-E1 |
|
Tehopinoaja |
High Capacity Stacker-H1 |
|
Kansio |
Paper Folding Unit-J1 |
|
Lajittelija/nitoja |
Finisher-AN1 tai Saddle Finisher-AN2 |
|
Vihkoleikkuri |
Booklet Trimmer-F1 |
|
Kaksiteräinen vihkoleikkuri |
Two-Knife Booklet Trimmer-A1 |
|
Viimeistelijän silta |
Finisher Bridge-A1 |
|
Viimeistelijän sovitin |
Adapter-A2 |
|
DFD (Document Finishing Device) |
Finisher-AN1 tai Saddle Finisher-AN2 |
|
eWire |
GBC eWire Pro |
Lisätietoja: Viimeistelylisävarusteiden tekniset tiedot.